CTB半逆流濕式磁選機的工作原理,圖示原理詳情
CTB半逆流濕式磁選機的工作原理,圖示原理詳情,磁選機是我們充分再利用粉狀粒體中的除去鐵粉等,磁選機廣泛用于資源回收,木材業.礦業.窯業.化學.食品等其他工場,適用于粒度3mm以下的磁鐵礦.磁黃鐵礦.焙燒礦.鈦鐵礦等物料的濕式磁選,也用于煤.非金屬礦.建材等物料的除鐵作業,是產業界使用最廣泛的.通用性高的機種之一.
我們生產的CTB永磁筒式磁選機可分為:雙滾筒磁選機.永磁滾筒磁選機.提純式干式磁選機.干式磁選機.濕式磁選機.強磁磁選機等多種不同規格的磁選機.
1.CTB永磁筒式磁選機簡介:
CTB永磁筒式磁選機選筒表面磁場強度遠高于普通永磁磁選機,易于操作管理及維護,在各類選礦廠現場使用時具有明顯的節能省電性能.半逆流槽永磁筒式磁選機適用于礦石粒度為0.5~0mm的粗選和精選,尤其適用于粒度為0.15~0mm礦物的精選;順流槽永磁筒式磁選機適用于礦石粒度為6~0mm的粗選和精選;逆流槽永磁筒式磁選機適用于礦石粒度為0.6~0mm的粗選和掃選,以及選煤工業重介質回收.該永磁筒式磁選機采用專業計算機軟件優化設計,結構合理,安裝簡單,使用方便,選別效率高!
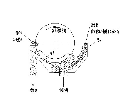
2.CTB永磁筒式磁選機的工作原理
礦漿由圓筒下部給入槽內,磁性礦粒被圓筒帶到一定高度后落到精礦槽中,非磁性礦粒被運動的礦漿帶著沿和圓筒轉動方向相反的方向到尾礦槽中.

該槽體特點是掃選區比逆流槽短些,脫水區比順流槽長些.所以它兼有可以獲得回收率高和精礦品位高的優點,選別指標較好.如圖1所示.該種槽體磁選機在選礦廠中應用最普遍,主要用于精選作業,選別粒度尤其適用小于0.15mm的礦物.
關注CTB半逆流濕式磁選機的工作原理,圖示原理詳情的人還閱讀了濕式磁選機磁路設計是否合理這篇文章,請繼續閱讀詳情.
我們生產的CTB永磁筒式磁選機可分為:雙滾筒磁選機.永磁滾筒磁選機.提純式干式磁選機.干式磁選機.濕式磁選機.強磁磁選機等多種不同規格的磁選機.

CTB永磁筒式磁選機選筒表面磁場強度遠高于普通永磁磁選機,易于操作管理及維護,在各類選礦廠現場使用時具有明顯的節能省電性能.半逆流槽永磁筒式磁選機適用于礦石粒度為0.5~0mm的粗選和精選,尤其適用于粒度為0.15~0mm礦物的精選;順流槽永磁筒式磁選機適用于礦石粒度為6~0mm的粗選和精選;逆流槽永磁筒式磁選機適用于礦石粒度為0.6~0mm的粗選和掃選,以及選煤工業重介質回收.該永磁筒式磁選機采用專業計算機軟件優化設計,結構合理,安裝簡單,使用方便,選別效率高!
2.CTB永磁筒式磁選機的工作原理
礦漿由圓筒下部給入槽內,磁性礦粒被圓筒帶到一定高度后落到精礦槽中,非磁性礦粒被運動的礦漿帶著沿和圓筒轉動方向相反的方向到尾礦槽中.

該槽體特點是掃選區比逆流槽短些,脫水區比順流槽長些.所以它兼有可以獲得回收率高和精礦品位高的優點,選別指標較好.如圖1所示.該種槽體磁選機在選礦廠中應用最普遍,主要用于精選作業,選別粒度尤其適用小于0.15mm的礦物.
關注CTB半逆流濕式磁選機的工作原理,圖示原理詳情的人還閱讀了濕式磁選機磁路設計是否合理這篇文章,請繼續閱讀詳情.
此文關鍵字:半逆流濕式磁選機
同類文章排行
- 黑鎢礦濕式磁選機質量有口皆碑
- 濕式磁選機常見故障說明及解決方案
- 創新型濕式磁選機,遠力強勢來襲
- 永磁滾筒影響產出的參數有哪些
- 濕式磁選機的強磁系控制系統【遠力磁電】
- 永磁滾筒如何降低選礦損失率
- 永磁筒式磁選機日常工作中出現故障如何排除?
- 干選磁選機結構組成及應用領域簡談
- 磁選機購買后使用過程中應注意些什么問題?
- 磁選機的磁場強度降低怎么辦?_濰坊遠力磁電科技有限公司
- 濕式磁選機參數
- 河砂選鐵磁選機 高效節能筒式強磁選機
- 濕式磁選機保養維護必須要找靠譜廠家
- 磁選機在陶瓷業如何選用
- 永磁筒式磁選機在設備使用上有哪些操作運行注意事項
- 濕式永磁筒式磁選機底部是什么樣子的
- 磁選機的價格與質量是成正比的!不要讓低價浪費了您的資源
- 河沙磁選機是挖沙船工作的重心
- CTB半逆流濕式磁選機的工作原理,圖示原理詳情
- 磁選機常見故障有哪些?我們該如何解決
最新資訊文章
- 逆流永磁筒式磁選機工作原理圖
- 濰坊干式磁選機技術規范書
- 磁選機廠家給客戶定制產品時要按需定制
- 濕式永磁筒式磁選機底部是什么樣子的
- 永磁筒式磁選機在設備使用上有哪些操作運行注意事項
- 磁選機在選擇上存在什么誤區
- CT9026干式磁選機河沙鐵礦等鐵粉提經得起時間的檢驗
- 河砂選鐵磁選機 高效節能筒式強磁選機
- 磁系對于磁選機廠家選料時的影響
- 濕式分選磁選機的配件
- 高梯度濕式磁選機如何排除故障遠力幫您
- 濕式磁選機百家爭鳴,遠力一枝獨秀
- 創新型濕式磁選機,遠力強勢來襲
- 通過濕式磁選機工作原理來看磁選機選擇的技巧
- 四川永磁濕式磁選機磁選效果
- 濕式磁選機常見故障說明及解決方案
- 沈陽濕式永磁筒式磁選機
- 濕式磁選機卸礦水角度多少
- 濕式分選磁選機更換筒皮時需要注意的事項
- 遠力濕式磁選機的選礦方法



